|
|
FINN WORLD MASTER CHAMPIONSHIP 2010
May 21 – May 28, 2010 Split, Croatia |
|
|
|
Organizing Authority: Yacht Club Labud in cooperation with the Finn World Master organization and Croatian Sailing Federation.
NOTICE OF RACE
0 NAME OF EVENT
0.1 The name of the event is: Finn World Master Championship 2010.
0.2 In this document the Finn World Master Championship 2010 will be referred to as the “Masters 2010”.
1 RULES
1.1 The Championship will be governed by the rules as defined in the ISAF document The Racing Rules of Sailing 2009-2012 (“RRS”).
1.2 No national prescriptions will apply.
1.3 The IFA Finn Class Rules will apply.
1.4 The RRS rules will be changed as follows:
- rule 28.1: Except at a gate, boats shall pass between the race committee boat signalling the change of the next leg and the nearby mark, leaving the mark to port and the race committee boat to starboard. This changes rule 28.1.
- rule 35, A4, A5: Boats failing to finish within 30 minutes after the first boat who sails the course and finishes will be scored Did Not Finish without a hearing.
- rule 44.3 (Scoring Penalty): not be applicable.
- rule 60.1(a): Breaches of instructions 11.3, 14.3, 18, 21, 19.2, 23, 24, 25 and 26 will not be grounds for a protest by a boat.
- rule 62.1.a (official boats): Failure for the official boats to be in station or to fly their designated flag will not constitute a ground for protest or redress. This changes RRS, rule 62.1.a.
- rule(s) 62.2 and 66: these will be changed to shorten the time for requesting redress and a hearing to be opened on the last day of the Masters 2010.
- rule 63.7: In the event of a conflict between the Notice of Race and the Sailing Instructions, the Sailing Instructions and Supplementary Instructions shall take precedence.
- rule A4: A boat starting later than four minutes after her starting signal will not be scored.
1.5 RRS, Appendix P, Immediate Penalties for Breaking Rule 42, will apply (Attachment D). Note: In P5 the specified wind speed limit is twelve (12) knots, as specified by the Finn Class Rule C1.1.(1). The wind speed is measured at deck level on the starting vessel.
1.6 The Sailing Instructions may change the Racing Rules, the Finn Class Rules and the rules of this NOR. The changes will appear in full in the Sailing Instructions. The Sailing Instructions may also change other racing rules.
1.7 If there is a conflict between languages the English text will take precedence.
1.8 The final decisions on any matters not covered by the RRS and the International Jury shall rest with IFA.
1.9 In the event of a conflict between the Notice of Race and the Sailing Instructions, the Sailing Instructions and Supplementary Instructions shall take precedence. This changes rule 63.7.
2 ADVERTISING
2.1 Advertising will be restricted to Category C.
2.2 Boats may be required to display advertising chosen and supplied by the organizing authority. The advertising stickers, if any, shall be affixed to the hull in accordance with the Sailing Instructions.
3 ELIGIBILITY AND ENTRY
3.1 Only competitors born in 1970 or before will be eligible for the Masters 2010. They must be current members of an IFA recognized National Finn Association.
3.2 Eligible boats may enter by completing the official Entry Form for the Masters 2010 as published on the Finn World Masters website. Fully completed entry forms should be received at the entry address no later than May 1st, 2010. By completing and sending the Entry Form the competitor agrees to pay the Entry Fee as defined in para. 5.1.
3.3 All entries, when accepted, will be displayed on the Finn World Masters website. This display can be considered as a confirmation.
3.4 Valid Measurement Certificates must be presented at registration.
3.5 All competitors shall have personal floatation in accordance with the RRS 1.2. Personal floatation to be of a suitable size and certified by an internationally recognized authority or in writing by the National Authority of the competitor.
4 CLASSIFICATION
The ISAF Sailor Classification Code will apply.
5 FEES 5.1 The entry fee will be Euro 130 (including Euro 10,=) for the Masters Fund) and shall be paid in cash in Euros at registration, prior to competing in the Masters 2010.
5.2 In case a competitor has send in the Entry Form, but does not participate in the actual Masters without notification by e-mail, he is obliged to pay the Entry Fee, for which he will receive a bill.
If this fee is not being paid, the claim will be valid until it has been paid at the next Finn World Master Championship.
6 FORMAT OF RACING
6.1 The Masters’ 2010 will be scheduled for a non-scoring practice Race, and a series with a maximum of eight scoring Races for each boat.
6.2 The scheduled series will consist of maximum eight Races, called Heats. Depending on Entries, each Heat will be divided into two or three groups, called Colour Groups, of similar size. Boats will be divided randomly into Colour Groups, which will change each day.
6.3 Overall results will be based on the boat’s score for the series, with one discard if sufficient races have been completed.
7 SCHEDULE
7.1 Events
|
DATE |
TIME |
EVENT |
|
May 21, 2010 |
09:00 – 18:00 |
Registration and Measurement |
|
May 22, 2010 |
09:00 – 18:00 |
Registration and Measurement |
|
May 23, 2010 |
09:00 – 12:00 14:00 19:00 |
Registration and Measurement Practice Race Opening Ceremony |
|
May 24, 2010 |
First warning signal at 12:00 |
1 or 2 Races (Heats) |
|
May 25, 2010 |
First warning signal at 12:00 |
1 or 2 Races (Heats) |
|
May 26, 2010 |
First warning signal at 13:00 |
1 Race (Heat) |
|
May 26, 2010 |
10:00 |
Annual Masters Meeting |
|
May 26, 2010 |
20:00 |
Official Dinner |
|
May 27, 2010 |
First warning signal at 12:00 |
1 or 2 Heats (Races) |
|
May 28, 2010 |
First warning signal at 12:00 |
1 Heat (Race) |
|
May 28, 2010 |
As soon as possible |
Prize Giving Ceremony Closing Ceremony |
Note: Schedule and times above mentioned may be changed by Organizing Authority via the Sailing Instructions.
7.2 Maximum eight races are scheduled for the event.
7.3 No warning signal will be given after 1500 on the last day of racing, except for a general recall.
7.4 In the event of any day’s sailing being lost an additional race may be scheduled for the following day(s) to enable race(s) to be sailed. A maximum of two races per day will be sailed.
7.5 It is requested by the International Finn Class and the organizers to attend the Opening and Closing Ceremonies.
8 MEASUREMENTS
8.1 Sails (two per boat) shall be stamped. Safety equipment may undergo random checks according the Finn Class Rules (including item 10 of Part C "Major Championship Rules"), unless otherwise decided by the Chief Measurer. 8.2 All competitors shall hold a valid measurement and class registration certificate. Boats shall have a current IFA sticker affixed to the hull. 8.3 Each boat shall have a floating tow rope with a minimum length of eight (8) meters and of sufficient strength to tow several boats. 8.4 Boats may be re-measured at any time during the Masters 2010.
9 SAILING INSTRUCTIONS
The Sailing Instructions will be available at Registration.
10 VENUE
10.1 Attachment A shows the route to the location of the Masters 2010.
10.2 Attachment B shows the location of the regatta harbour.
10.3 Attachment C shows the approximate location of the race area.
11 COURSES
11.1 The courses to be sailed will be either the Windward-Leeward-Triangle (Olympic) course, or the Trapezoid Course (Inner Loop or Outer Loop) according to the RRS, Appendix L, Addendum A.
11.2 The diagrams in Attachment D show the courses, including the approximate angles between legs, the order in which marks are to be passed, and the side on which each mark is to be left.
12 PENALTY SYSTEM
12.1 Decisions of the jury will be final as provided in rule 70.4.
13 SCORING
13.1 Scoring will be based upon the Low Points system (RRS Appendix A4).
13.2 Each Colour Group of each Heat will be scored according to the Low Point System (1, 2, 3 points etc).
13.3 A total of four or more Heats must be completed to constitute a Championship.
13.4 When fewer than five Heats have been completed, a boat’s series score will be the total of her race scores.
13.5 When five or more Heats have been completed, a boat’s series score will be the total of her race scores excluding her worst score, subject to RRS 90.3 (b).
14 SUPPORT BOATS
14.1 Coaches, team leaders and representatives from participating nations shall be registered at the Registration Office before the first day of racing.
14.2 Support boats shall be marked with a sticker of their national flag or of their three national letters on each side of the boat, or fly their national flag.
15 BERTHING
Boats shall be kept in their assigned places in the YC Labud and YC Mornar.
16 HAUL-OUT RESTRICTIONS
Not applicable.
17 DIVING EQUIPMENT AND PLASTIC POOLS
Not applicable.
18 RADIO COMMUNICATION
Except in an emergency, a boat shall neither make radio transmissions while racing nor receive radio communications not available to all boats. This restriction also applies to mobile telephones.
19 PRIZES
19.1 Perpetual prizes for:
1. First place in the Overall Result (The Master’s World Champion)
2. First Grand Master
3. First Grand Grand Master
4. The first sailor outside the prizes in the Overall Result (i.e the eleventh sailor in the Overall Result)
19.2 Medals for:
1. Top three Masters
2. Top three Grand Masters
3. Top three Grand Grand Masters
4. Top three Legends
5. First Lady in the Overall Result
6. Memento for each Legend
19.3 Prizes (i.e. Cups) for the top ten sailors in the Overall Result.
19.4 The prize giving ceremony shall be held as soon as possible after the end of the last race.
20 DISCLAIMER OF LIABILITY
Competitors participate in the World Championship Finn Masters 2010 entirely at their own risk. See rule 4, Decision to Race. The Organizing Authority will not accept any liability for material damage or personal injury or death sustained in conjunction with or prior to, during, or after the Championship.
21 INSURANCE
Each competing boat shall be insured with valid third-party insurance with a minimum cover of Euro 1,000,000 per event, for the entire duration of the Masters 2010. It shall be the sole and inescapable responsibility of the competitor to have such an insurance cover and to provide written proof thereof to the Organizing Authority upon request.
22 RIGHTS TO USE NAME AND LIKENESS
By participating in the Masters 2010, a competitor automatically grants the Organising Authority and the sponsors of the Masters 2010, the right to, in perpetuity, make, use and show, from time to time and at their discretion, any (still) motion pictures, live, taped or filmed television and other reproductions of the competitor and its material, during the period he/she participates in the competition Masters 2010 without any compensation.
23 ACCOMMODATION
F-tours Group Ltd.
Discover Croatia
Hrvojeva 1, HR-21000 Split, Croatia
Tel: +385 21 340964, 340965
Fax: +385 21 340969
Email: Ova e-mail adresa je zaštićena od spambota. Potrebno je omogućiti JavaScript da je vidite.
http://www.f-tours.hr/discover/
24 HOUSING, CAMPERS/CARAVANS
Yacht Club Labud
Uvala Baluni 9, HR-21000 Split, Croatia
Tel: +385 21 398218
Fax: +385 21 398218
Email: Ova e-mail adresa je zaštićena od spambota. Potrebno je omogućiti JavaScript da je vidite.
http://www.jklabud.hr/finn-world-masters-2010
25 FURTHER INFORMATION
Email: Ova e-mail adresa je zaštićena od spambota. Potrebno je omogućiti JavaScript da je vidite.
http://www.finnworldmaster.com
Organizing Authority
Yacht Club Labud
Uvala Baluni 9, HR-21000 Split, Croatia
Tel: +385 21 398218
Fax: +385 21 398218
Email: Ova e-mail adresa je zaštićena od spambota. Potrebno je omogućiti JavaScript da je vidite.
http://www.jklabud.hr/finn-world-masters-2010
ATTACHMENT A: Route to the location of the Masters 2010.

Info: http://www.jklabud.hr/finn-world-masters-2010/informations/how-to-reach-yacht-club-labud-split
ATTACHMENT B: Location of the regatta harbour.

ATTACHMENT C: APPROXIMATE LOCATION RACE AREA
Harbour to Racing Area (midpoint):
Distance Bearing
Course area A: 1.3 NM 220 degrees
Course area B: 1.6 NM 130 degrees
Course area C: 3.0 NM 220 degrees
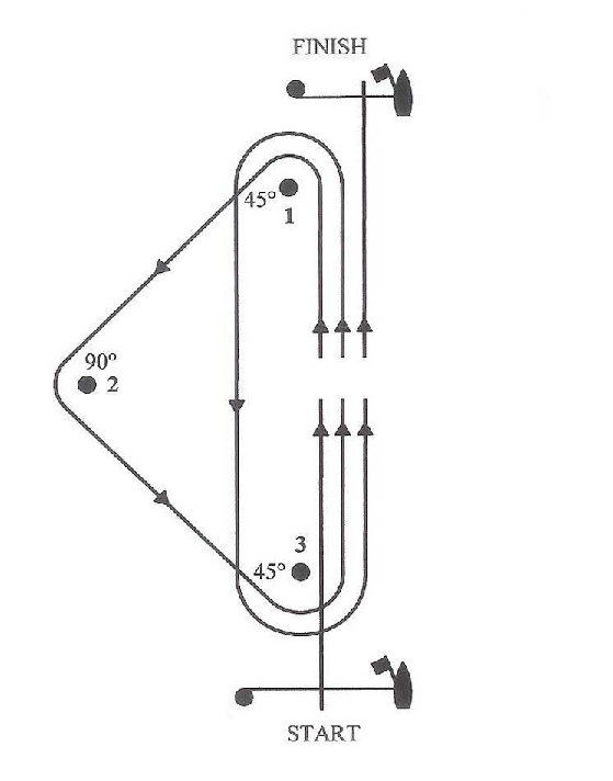
ATTACHMENT D: COURSES
Copy from RRS 2009-2012:
ILLUSTRATING THE COURSE
Shown here are diagrams of course shapes. The boat’s track is represented by a discontinuous line so that each diagram can describe courses with different numbers of laps. If more than one course maybe used for a class, state how each particular course will be signaled.
Windward-Leeward-Triangle Course
Start – 1 – 2 – 3 – 1 – 3 – Finish
Continued: Windward-Leeward-Triangle Course
Options for this course include: (1) increasing or decreasing the number of laps,
(2) deleting the last windward leg,
(3) varying the interior angles of the triangle (45º–90º–45º and60º–60º–60º are common),
(4) using a gate instead of a leeward mark for downwind legs,
(5) using an offset mark at the beginning of downwind legs, and
(6) using the leeward and windward marks as starting and finishing marks.
Trapezoid Courses
Outer Loop (OL) Inner Loop (IL)
Start – 1 – 2 – 3 – 2 – 3 – Finish Start – 1 – 4 – 1 – 2 – 3 – Finish
Options for these courses include;
(1) adding additional legs,
(2) replacing the gate shown by a single mark, or using a gate also in the outer loop,
(3) varying the interior angles of the reaching legs,
(4) using an offset mark at the beginning of downwind legs, and
(5) finishing boats upwind rather than on a reach.

